AD584之我的粗略见解

发表于:2019-11-26 18:09:25 5617
标准件&校基准源
主题类别: 知识_经验
标准件类型:
仪表品牌: DIY自制
型号或关键字: AD584

登录后可查看大图

您需要 登录 才可以下载或查看,没有账号?立即注册

x
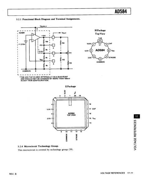
2bc7ff661bd7e91d6733494d3eb8ad43.png 大家这几天都在为这基准研讨不休,看在你们都不累的分上,我也说说我的见解,如图,AD584由内部的基准电源;运放;分压反馈电阻构成,这应该是一个很简单原理的电路,之所以它有2.5v;5v;7.5v;10v的输出是因为他采用分压电阻,输出电压的精度取决于分压电阻的精度,而分压电阻的精度是用激光雕刻来保证的,
      基于上述理论,我们只要在外面修改它的分压电阻值就可以改变其输出电压,但是所加零件的温飘怎么能保证和AD584内部温飘一致呢,如果做不到那么这种修改就毫无意义,
      所以我认为就AD584自身的输出是更有意义的,没有去修改的必要。

       欢迎大家继续讨论
收藏
送赞
分享

发表回复

评论列表(10)

cast 数字斗士C 2019-11-26 19:04:49
是有些人没搞懂“基准”这二个字的含义

象土木工程做基准,在合适的地方随便画条线就是基准,可以连数值的不要,

如果这能理解就能明白广泛上所指的基准其含义

2019-11-26 19:04:49 回复
狮子王 数字梦想家E 2019-11-26 19:08:31
手里没有7位以上的表,就敢说自己改装的584基准“超级精准”,放到淘宝能卖上千元,也是醉了。。。
2019-11-26 19:08:31 回复
fslichong 楼主     数字王者I 2019-11-26 20:07:19
基准只有一个,其余的设备做得再精也只能是无限接近于基准,我们校表也就是要让表更加接近于这个基准,
2019-11-26 20:07:19 回复
狮子王 数字梦想家E 2019-11-26 20:41:54
本帖最后由 狮子王 于 2019-11-26 21:22 编辑

基准是用来当标杆的,只听说过用高位表标定基准的,还真没见过用4位表校准基准的。
2019-11-26 20:41:54 回复
hc061218 数字王者I 2019-11-27 07:38:49
狮子王 发表于 2019-11-26 20:41
基准是用来当标杆的,只听说过用高位表标定基准的,还真没见过用4位表校准基准的。
...

那你是没见过用三位半校准的
2019-11-27 07:38:49 回复
jltzmy 数字精灵G 2019-11-28 10:37:41
该醒的看了这么多,也应该醒了,如果真的就想一直揣着糊涂装明白,就是不想醒,那就让他一直睡吧,我等闲人也别打扰他人美梦了
2019-11-28 10:37:41 回复
地猫与京西 数字奇才B 2020-3-24 02:40:13
狮子王 发表于 2019-11-26 19:08
手里没有7位以上的表,就敢说自己改装的584基准“超级精准”,放到淘宝能卖上千元,也是醉了。。。 ...

584也就四位半的水平 到头了。温漂太大了。
2020-3-24 02:40:13 回复
wgsd 数字大神J 2020-3-24 08:01:26
没事玩玩也不错
2020-3-24 08:01:26 回复
wgh1027 数字大神J 2020-3-30 23:07:13
这个最好把它调成全是9。
2020-3-30 23:07:13 回复
499719308 数字奇才B 2020-4-3 09:14:51
2020-4-3 09:14:51 回复