请教如何自制一台晶体管测试仪

发表于:2017-9-29 18:29:43 3492
仪器仪表 - 其它仪表
主题类别: 制作_改装
仪表类型: 晶体管测试仪
仪表品牌: DIY自制
型号或关键字: 晶体管测试仪

登录后可查看大图

您需要 登录 才可以下载或查看,没有账号?立即注册

x
各位同行,我想自制一台晶体管测试仪,希望大家能给我提供份图纸,谢谢
收藏
送赞
分享

发表回复

评论列表(6)

xiaohu 数字斗士C 2017-10-4 18:37:53
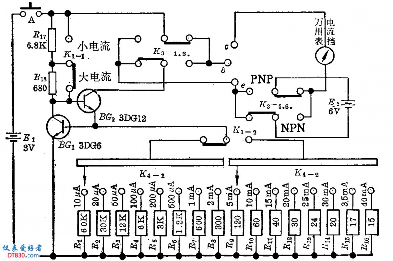
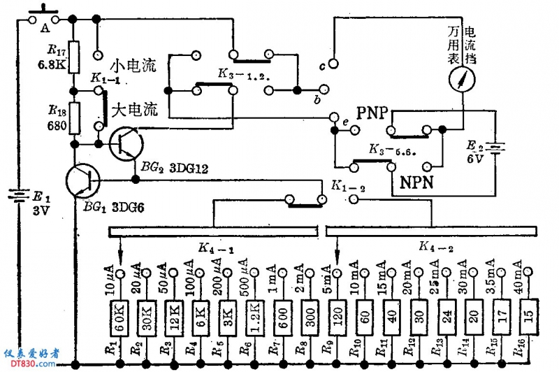
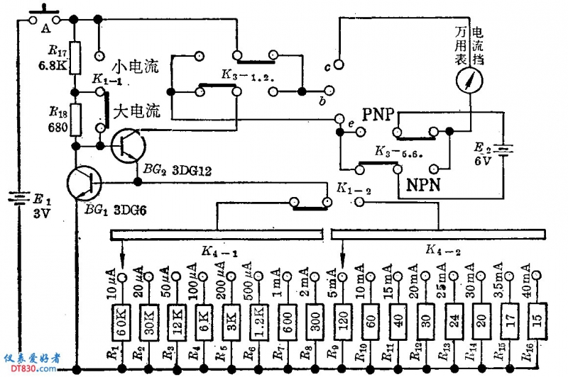
不直到你需要什么功能的晶体管测试仪,简易的还是功能强大的,模拟器件还是MCU的,先上一张简易的吧
简易晶体管测试仪(中学科技79年3期)-1.jpg
2017-10-4 18:37:53 回复
xiaohu 数字斗士C 2017-10-4 18:38:48
PDF格式制作说明
简易晶体管测试仪(中学科技79年3期).pdf (365.04 KB, 下载次数: 322)
2017-10-4 18:38:48 回复
乐在其中110 数字精灵G 2017-10-7 20:50:45
谢谢楼上的朋友分享!
2017-10-7 20:50:45 回复
fslichong 楼主     数字王者I 2017-10-9 06:55:25
谢谢你们的分享
2017-10-9 06:55:25 回复
fslichong 楼主     数字王者I 2017-10-9 07:18:28
我需要功能强大的模拟的晶体管测试仪,复杂精密些更好
2017-10-9 07:18:28 回复
robter 数字梦想家E 2018-8-2 08:03:25
xiaohu 发表于 2017-10-4 18:38
PDF格式制作说明

很好很早很珍贵的资料
2018-8-2 08:03:25 回复